In mobile telecommunication customers are directly exposed to the air interface. All the weather phenomena and human activities are going on in the same interface. Therefore it is not an easy task to provide and maintain services with higher quality. GSM technology uses Time Division Multiple Access (TDMA)/ Frequency Division Multiple Access (FDMA) in the air interface. Modulation scheme of GSM is Gaussian Minimum Shift Keying (GMSK). Following are the allocated standard frequency bands for GSM telecommunication purposes.

Uplink (UL): Link from MS to BTS
Downlink (DL): Link from BTS to MS
The low frequency range is allocated for UL because the attenuation of the signals with lower frequencies is lower. Therefore MS can transmit the signal with lower power. And the high frequency range is allocated for the DL. Attenuation does not become a bottleneck for the DL because the BTS can transmit the signal at a higher power level.
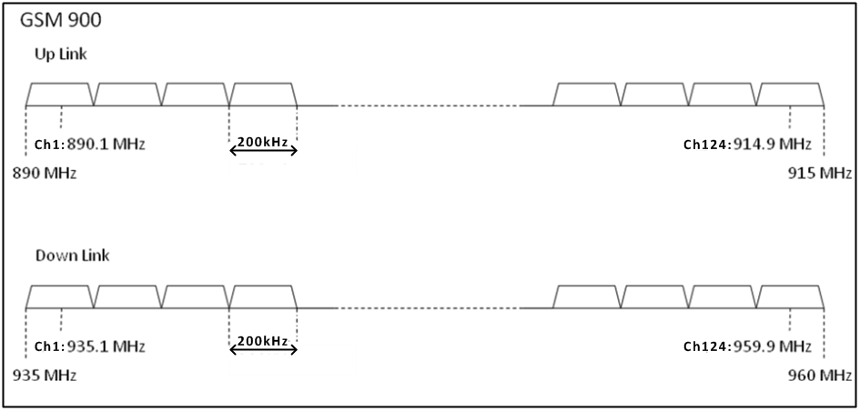
As shown in the Figure: GSM 900 Band there are 124 channels are available for both UL and DL. Similarly DCS 1800 consists of 374 channels for both UL and DL. For convenience we use set of numbers corresponds to actual frequencies. This set of numbers are known as Absolute Radio Frequency Channel Number (ARFCN). It means there are 124 and 374 ARFCNs for GSM 900 and DCS 1800 respectively. ARFCN ranges:
GSM 900: 1-124
DCS 1800: 512-885
Example on ARFCN calculation is as follows (similar calculation for DCS as well).
ARFCN 65 in UL = 890 + [(65-1)*0.2] + 0.1 = 902.9 MHz
ARFCN 70 in DL = 935 + [(70-1)*0.2] + 0.1 = 948.9 MHz
There are five mobile operators in Sri Lanka. Telecommunication Regulatory Commission Sri Lanka (TRCSL) has allocated each operator a distinct subset of ARFCNs. Given channels are not enough to cater a large customer base. Therefore frequencies needed to be reused effectively. When we reuse the frequencies, need to consider co-channel interference(interference created by two carriers which have the same frequency. Interference margin for two channels is -9 dBm.) and adjacent channel interference (interference created by two carriers which have adjacent frequencies. i.e. channel 60 and 62 are adjacent to channel 61. interference margin for two channels is 9 dBm.).
A carrier is identified in the air interface by Broadcast Control Channel (BCCH) and Base Station Identification Code (BSIC). BCCH channel is used for the signaling phase of the air interface. BSIC is composed with two parts Base-station Color Code (BCC) and Network Color Code (NCC). For Etisalat Lanka permitted values for NCC are x and y, permitted values for BCC are a to n (actual values not mentioned here). BSIC is used to distinguish between the BTS using same BCCH frequency. Therefore co-BCCH and co-BSIC combinations should be avoided in cells influencing each other.
